На главную
Отправить письмо
Окна ПВХ
ПВХ Профиль Металлопластик
Gridnev ОКНА - производство, установка,
реализация металлопластиковых окон.

Для деревянных заборов используют древесину твердых и мягких пород (лиственница, сосна и др.), которая не должна иметь трещин, гнили и т. п. Перед использованием ее обрабатывают антисептическими составами. Деревянная ограда может быть выполнена в виде:

  • частокола (кольев, вбитых прямо в землю и образующих сплошное заграждение), но этот способ крайне неэкономичен, поскольку требует много материала;
  • дощатого забора (досок, расположенных по горизонтали, вертикали, диагонали и прибитых к вертикальным столбам);
  • штакетника (ограждения из досок-штакетин, установленных вертикально и прикрепленных к горизонтальным прожилинам);
  • ограждения пастбищного типа (невысоких столбов с двумя поперечными жердями-прожилинами);
  • плетня (ограды, сплетенной из тонких ветвей).

Поперечину забора фиксируют разными способами в зависимости от материала столбов. К деревянным ее крепят врубкой вполдерева, к металлическим – стальными скобами толщиной 5–6 мм или приваренным арматурным прутком диаметром 10–12 мм, а к асбестоцементным трубам – хомутами, выполненными из полосовой стали толщиной 2–3 мм. Последние два способа показаны на рис. 21.

Выполнение крепления поперечин к столбам

Рис. 21. Выполнение крепления поперечин к столбам: а – к металлическому столбу; б – к асбестоцементному столбу; 1 – металлическая труба; 2 – скоба; 3 – поперечина; 4 – места сварки; 5 – хомут; 6 – асбестоцементная труба; 7 – болт

Штакетины прибивают к поперечинам гвоздями или крепят шурупами. Аккуратным забор будет в том случае, если его выровнять по верхнему краю или сохранить одинаковое расстояние между отдельными элементами. С данной целью делают шаблон из реек, соединив их под углом в 90°. Их ширина должна совпадать с шириной штакетин (рис. 22), которые можно прибивать по-разному (рис. 23).

Использование шаблона для набивания штакетника

Рис. 22. Использование шаблона для набивания штакетника

Варианты дизайна забора из штакетника

Рис. 23. Варианты дизайна забора из штакетника

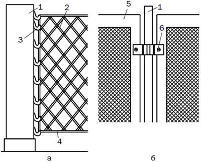
Забор из сетки-рабицы принято считать долговечным (рис. 24). Ее крепят к металлическим столбам и двум рядам проволоки диаметром 3–6 мм, которые вместе образуют каркас. Для удобства сетку надевают на проволоку, натягивают и крепят к крюкам, заранее приваренным к опорам. Ее растягивают на рамах, которые затем в готовом виде соединяют хомутами со столбами.

Выполнение забора из сетки-рабицы

Рис. 24. Выполнение забора из сетки-рабицы: а – крепление сетки к столбам; б – крепление рам-конвертов; 1 – металлическая труба; 2 – сетка; 3 – крюк; 4 – проволока; 5 – рама-конверт; 6 – хомут

Забор также выполняют из кирпича и дерева, кирпича и металлической сетки, дерева и натурального камня (рис. 25).

Комбинированные заборы

Рис. 25. Комбинированные заборы: а – из кирпича с деревянным заполнителем; б – из кирпича и металлических рам; в – из необработанного дерева и натурального камня

Для возведения заграждения из натурального камня и необработанной древесины устанавливают каменные опорные столбы и цоколь. Поперечную прожилину выполняют из брусьев сечением 75 х 50 мм, выставляют деревянные промежуточные столбы и крепят анодированными или оцинкованными гвоздями. Под них укладывают ленточный фундамент с одновременной закладкой опорных столбов, украшенных карнизом из плитки, и цоколя. Деревянные опоры бетонируют в опорную стенку на глубину 50 см. Чтобы они сохранили вертикальное положение, их укрепляют распорками. Когда вся конструкции отвердеет, ее обшивают досками.

Забор из живой изгороди подчеркивает границы участка и украшает его. Есть 2 варианта – классический (правильной формы и с подстриженными кустами) и неформальный (с разросшимися кустарниками). В последнем случае используют боярышник, орешник, облепиху, жимолость и др.

Ворота и калитки

Они являются основными элементами фасадной стороны заграждения и должны быть связаны с ним функционально и декоративно. Отделывая калитки и ворота, используют те же приемы, что и для построек на участке. Например, по конструкции и стилю решетки на окнах, воротах и калитке должны совпадать.

Существует множество видов ворот и материалов, из которых их изготавливают, но все они должны быть прочными, долговечными и безопасными. Кроме того, общим для всех вариантов элементом является наличие фиксирующего устройства, препятствующего самопроизвольному закрыванию при ветре.

Ворота обычно состоят из двух створок общей шириной 220–240 см и высотой 160–180 см, конструкция которых зависит от предназначения. Если предполагается въезд большегрузных автомобилей или дом находится в глубине участка, ширину увеличивают до 340 см. Ширина калитки обычно составляет 100 см. Если было решено ограничиться только ею, для въезда транспорта можно устроить легко снимающийся пролет ограждения. Во время строительства ворот трудности возникают при оборудовании того отрезка дороги, который соединяет двор с проезжей частью. Если со стороны улицы вдоль ограждения проложена водосточная канава, на ее дно кладут металлическую или бетонную трубу необходимого диаметра и длиной не менее 3,5 м, которую оформляют насыпью и ограничивают по бокам деревянной опалубкой. Под столбы, на которые навешивают створки ворот и калитку, закладывают фундамент. Глубина траншеи под него должна составлять не менее 6080 см. При меньшей глубине они постепенно расшатываются, в результате чего ворота с калиткой перестают нормально закрываться. Ямы выкапывают глубиной 1 м, после чего устанавливают в них столбы, засыпают бутом, галькой или щебнем, уплотняют и заливают бетонным раствором.

Деревянные ворота и калитка конструктивно состоят из рамы и обрешетки. Рамы имеют прямоугольную форму. Их делают из брусков сечением 50 х 100 мм, связывают одинарным шипом, усиливают шурупами или нагелями и снабжают укосиной, соединяющей углы по диагонали, что предотвращает провес створок. После изготовления их навешивают на столбы, а потом выполняют обрешетку. Петли, на которые крепят ворота и калитку, относятся к амбарному типу. Чтобы зафиксировать их на металлическом или бетонном столбе, используют деревянные накладки, прикрученные болтами.

Калитку снабжают врезным замком, а ворота – запором со стороны двора. При большой ширине ворот их фиксируют слегой, вставляемой в 4 скобы. Будучи закрытыми, створки ворот упираются в ограничитель, который вкапывают посередине въезда. При открытом состоянии данную роль играет пружинный фиксатор, который состоит из стойки, выполненной из трубы диаметром 20–25 мм и длиной 40–45 мм, и любой пружины. В трубе делают косую прорезь таким образом, чтобы защелка, вырезанная из полосовой стали толщиной 3–4 мм и прикрепленная к стойке на оси, поднималась вверх до нижней кромки ворот. Раму отделывают обрешеткой в направлении от середины в стороны, причем первую планку прибивают на стыке, чтобы прикрыть его. В результате образуется своеобразный фальц, с помощью которого ворота запираются.

Если дачей пользуются в зимнее время, между заграждением и дорогой оставляют просвет высотой 10–15 см, равный высоте снежного покрова. А летом его прикрывают доской. Конструкция деревянных ворот и калитки представлена на рис. 26.

Конструкция деревянных ворот и калитки

Рис. 26. Конструкция деревянных ворот и калитки: а – угловое соединение рам; б – способ навески створок: 1 – амбарная петля; 2 – клин; 3 – накладка; 4 – слега; 5 – столб; 6 – гвозди; в – цоколь ограды: 1 – штакетник; 2 – кирпич; 3 – песчаная подушка; г – запор: 1 – скоба; 2 – засов; д – стык створок: 1 – планка-фальц; 2 – правая створка; 3 – левая створка; е – ограничитель-защелка: 1 – стойка; 2 – защелка; 3 – рама створки; 4 – пружина

Не менее интересным является другой вариант – из металлического уголка, сваренного в виде рамы, которая заполнена деревянными вставками. Из современных материалов используют поликарбонат и профнастил. Они оригинальные и долговечные, а крепление их к стойкам и устройство запора не отличаются от вышеописанных.

Главным правилом при устройстве ворот и калиток является то, что первые должны открываться внутрь, а вторые – наружу.

Страницы:


ООО "Гриднев" © 2016-2026

  E-mail: contacts@gridnev.biz