На главную
Отправить письмо
Окна ПВХ
ПВХ Профиль Металлопластик
Gridnev ОКНА - производство, установка,
реализация металлопластиковых окон.

Основные работы по оборудованию бани

К числу основных мероприятий по оборудованию бани следует отнести следующие: планировка и оборудование внутренних помещений, устройство полов и потолков, создание требуемого климата, сооружение печи, систем отвода сточных вод и водоснабжения, выполнение внутренних перегородок и др.

Планировка внутренних помещений

Как уже было замечено выше, баня может состоять из одного помещения, наделенного несколькими функциями: моечной, парильной и раздевалки. Размеры такого сооружения сравнительно велики: от 5 до 8 м2 на одного человека. Чтобы внутри могли разместиться 3 человека, потребуется возвести постройку, площадь которой должна составлять не менее 20 м2. Главным ее недостатком является большой расход топлива, необходимого для нагревания помещения.

Для сокращения количества используемого топливного материала и повышения экономичности баню строят, совместив парильную с другим, каким-либо одним, помещением или уменьшив ее площадь. В связи с этим наиболее удобным вариантом можно считать конструкцию, представленную на рис. 88.

Семейная баня для трех человек с совмещенной парильной

Рис. 88. Семейная баня для трех человек с совмещенной парильной: 1 – тамбур; 2 – предбанник; 3 – моечная и парильная; 4 – вешалка; 5 – скамья; 6 – печь; 7 – емкость для воды; 8 – полки; 9 – окна; 10 – шкаф

Действительно, строение, имеющее подобную планировку, отличается небольшими материальными затратами и относительным удобством. Однако оно не соответствует всем требованиям гигиены. С данной точки зрения лучше выбрать другой вариант, в котором имелись бы три отдельных блока – парильная, моечная и раздевалка.

Создание климата

Необходимый климат внутри помещений бани складывается из двух составляющих: температурного режима и степени влажности воздуха. Уровень влажности воздуха определяется количеством находящегося в нем пара. Для его описания используют такие показатели, как плотность, энтальпия, температура, давление, парциальное давление пара и объем. Абсолютная влажность воздуха – понятие, соответствующее массе присутствующего в воздухе пара, которое выражается в кг/м3. Влагоемкостью принято называть максимальное количество пара, находящегося в воздухе и приходящегося на каждый кубический метр его объема при определенной температуре. Необходимо заметить, что увеличение температуры неизменно приводит к росту влагоемкости, что необходимо знать при сооружении бани или сауны.

Застройщику, намеревающемуся возводить такую постройку, следует иметь представление и об относительной влажности воздуха. Таким термином обозначают отношение абсолютного показателя к влагоемкости, отмеченных при одинаковой температуре.

Известно, что относительная влажность воздуха и скорость испарения влаги находятся в обратной зависимости. Другими словами, при высоком уровне относительной влажности воздуха влага испаряется медленно. Для ее измерения используют прибор, именуемый психрометром.

Для создания в бане требуемого климата важно помнить о таком понятии, как энтальпия. При условии высокой температуры – одной из основных характеристик воздуха в бане и сауне – его составляющими являются энтальпии водяного пара и сухого воздуха. Считается, что идеальными значениями являются 210–280 кДж/кг. Именно такое соотношение обеспечивает оптимальный теплообмен, происходящий в организме в момент принятия человеком водных процедур в бане или сауне.

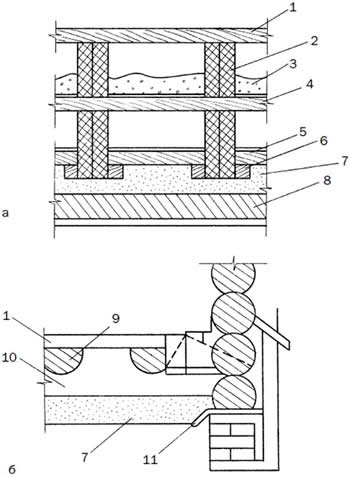
Устройство пола

Пол в бане сооружают, используя различные методики (рис. 89). Однако основным требованием к нему остается следующее: покрытие нужно устанавливать под некоторым углом по отношению к плоскости основания и под наклоном к приямку. В таком случае сточные воды беспрепятственно выходят наружу, за пределы постройки.

Пол в бане и сауне

Рис. 89. Пол в бане и сауне: а – в раздевалке; 1, 5 – доски; 2, 6 – брус; 3 – шлаковая засыпка; 4 – смазка; 7 – песок; 8 – земля; б – в парильной; 1 – доски; 7 – песок; 9 – лаги; 10 – глина; 11 – изолирующий слой

Пол в бане располагают на 30 см выше поверхности грунта. Для отделки применяют древесину, керамику или бетон. Используя бетон или керамическую плитку, выполняют теплое покрытие, в качестве которого выбирают доски или сплетенные из лозы дорожки.

Для повышения качества бетонного пола заливку кладут на заранее выложенную из мелкого гравия постель. Сначала удаляют слой дерна, после чего засыпают выровненную площадку мелким гравием, керамзитом или шлаком. Все хорошо утрамбовывают, затем выравнивают и заливают бетоном или цементной массой. Чтобы получить теплый пол, укладывают 2 слоя бетонной заливки, между которыми устраивают теплоизоляцию из стекло– или минеральной ваты либо перлита.

Пол из древесных материалов делают протекающим или сплошным. Для настила используют обрезные или шпунтованные доски, которые кладут поверх основания, собранного из деревянных лаг. Последние фиксируют с интервалом не более 60, 70 и 90 см при применении досок, толщина которых составляет 19, 22 и 29 мм соответственно. В целях гидроизоляции и предотвращения загнивания материала поверхности лаг и доски (с нижней стороны) обрабатывают антисептическим препаратом.

При устройстве пола деревянные лаги кладут поверх небольших столбов из кирпича, камня или бетона, что обеспечивает вентиляцию пространства, образующегося между полом и поверхностью площадки, позволяет сохранить напольное покрытие и избежать гниения конструктивных элементов.

Перед установкой столбов и лаг площадку заливают цементным раствором. При эксплуатации сооружения сточные воды будут стекать по поверхности застывшей цементной площадки к выкопанному приямку, а оттуда – в устроенный в системе канализации приемник. В таком случае детали конструкции останутся сухими, что увеличит время их службы.

Если требуется выполнить напольное покрытие без щелей, то применяют шпунтованные доски, которые укладывают под наклоном к приямку. Их крепят вплотную друг к другу, не оставляя зазоров. Для устройства деревянного пола в бане или сауне выбирают древесину, устойчивую к воздействию влаги (дуб, лиственница). Нельзя использовать для покрытия такие материалы, как поливинилхлоридная плитка или линолеум, поскольку под воздействием высокой температуры они выделяют токсичные вещества, вредные для организма. Чтобы предотвратить проникновение воды в промежутки между стеной и напольным покрытием, устанавливают плинтусы.

Сооружение системы отвода сточных вод

Для экономии материалов и трудозатрат водоотводную систему устраивают непосредственно под постройкой. Делают это следующим образом: грунт на выбранной под строительство бани площадке засыпают мелким гравием и выравнивают покрытие. Вода, попадая на слой засыпки, проходит через нее и впитывается землей. Однако данную систему водоотвода нельзя назвать совершенной. По мере накопление влаги грунт перестает впитывать излишки воды. В результате происходит ее застаивание, и вскоре во внутренних помещениях появляется неприятный запах.

Необходимость включения в конструкцию канализационной системы вызвана еще и размещением туалета. При этом основные помещения для предотвращения проникновения запахов внутрь парильной или моечной отделяют от сети канализации посредством специально установленного трапа. С данной целью пользуются готовыми трапами-затворами, применяемыми при проведении сантехнических работ.

Вместо промышленного варианта используют специальную металлическую коробку, снабженную патрубком и герметичной перегородкой. Для свободного прохождения сточных вод через гидрозатвор трап устанавливают таким образом, чтобы патрубок находился на некоторой высоте над ним. Размещают его на уровне ниже сливной емкости. В таком случае вода беспрепятственно поступает в заборный патрубок из приямка или принимающей емкости.

Канализационную систему на приусадебном участке сооружают так, чтобы сброс сточных вод производился на удаленном расстоянии от построек. Согласно санитарным нормам выброс нельзя осуществлять в естественные водоемы и овраги, располагающиеся поблизости от жилых и хозяйственных сооружений.

Для устройства системы канализации делают следующее. На расстоянии 50 см от внешней линии фундамента выкапывают яму глубиной 1,5 м. От нее проводят канаву длиной до 2 м, соединяющую яму с колодцем-приемником, объем которого должен быть не менее 2 м3. На дно траншеи кладут трубы диаметром до 50 мм или лоток. При включении в конструкцию бани туалета для оборудования канализационной системы используют трубы, диаметр которых должен составлять не менее 100 мм.

Страницы:


ООО "Гриднев" © 2016-2026

  E-mail: contacts@gridnev.biz