На главную
Отправить письмо
Окна ПВХ
ПВХ Профиль Металлопластик
Gridnev ОКНА - производство, установка,
реализация металлопластиковых окон.

Внутренние и наружные стены соединяют «ласточкиным хвостом» (рис. 61).

Выполнение соединения «ласточкин хвост»

Рис. 61. Выполнение соединения «ласточкин хвост»: 1 – наружная стена; 2 – внутренняя стена

Для соединения балок чердачного и междуэтажного перекрытия используют врубку под названием «глухой сковородень» (рис. 62).

Выполнение врубки балки перекрытия

Рис. 62. Выполнение врубки балки перекрытия: 1 – балка перекрытия; 2 – верхний венец; 3 – соединение «глухой сковородень»

Рубленые стены нуждаются в утеплении, поэтому, после того как они осядут и просохнут, их конопатят. В качестве утеплителя используют волокнистый материал – паклю, мох или войлок, обработанные битумом. Их забивают в пазы специальными инструментами – конопатками (рис. 63).

Разновидности конопаток

Рис. 63. Разновидности конопаток: а – наборная; б – кривая; в – дорожник; г – разбивная

Пряди волокнистого материала вставляют в пазы и уплотняют, помогая конопаткой. Потом, соединив новую прядь со старой, заложенной при возведении сруба, их вбивают между бревнами, создавая валик. При выполнении конопачения нужно помнить, что:

  • все венцы конопатят последовательно по периметру, чтобы избежать перекоса стен;
  • чтобы не повредить дымовую трубу, засыпку и обмазку трубы удаляют, образуя зазор между перекрытием, трубой и кровлей, так как после завершения конопачения высота сруба увеличивается на 10–15 см;
  • закончив наружные работы по конопачению, переходят к внутренним.

Стены бывают брусчатыми, для чего используют брусья (обработанные на 4 канта бревна) сечением 120–140 мм. В зависимости от минимума зимних температур ширина бруса наружных стен может достигать 150 мм (при -30 °C) и 180 мм (при более низкой температуре). Для внутренних стен и перегородок достаточно 100 мм.

Брусчатые стены, по сравнению с рублеными, более экономичны благодаря минимальным отходам древесины. Более того, работа с ними менее трудоемкая (приблизительно в 3 раза). Рубка бревен «в обло» или «в лапу» достаточно трудная, а соединение «вполдерева», которое используют для фиксации брусьев, может выполнить и начинающий плотник. Немаловажно и то, что их приобретают в готовом виде, чтобы избежать расхода древесины и больших трудозатрат при самостоятельной подготовке. Такой материал соединяют быстро, что существенно ускоряет работу. Так как брусчатые стены не столь подвержены осадке, как рубленые, их сразу укладывают на подготовленный фундамент.

Между ними также прокладывают теплоизоляцию. Брусчатые стены соединяют с помощью нагелей диаметром 30 мм и длиной 200–250 мм, под которые предварительно просверливают отверстия (их глубина должна быть больше длины нагеля на 20–40 мм). Чтобы соединить сразу несколько брусьев, углубления размещают одно под другим. Угловые соединения брусчатых стен можно выполнить разными способами (рис. 64). Данная технология соединения брусьев обеспечивает вертикальную устойчивость стены. Поскольку у таких стен угловые крепления являются слабым местом, их теплоизолируют так, как показано на рис. 65.

Выполнение угловых соединений брусчатых стен

Рис. 64. Выполнение угловых соединений брусчатых стен: а – коренным шипом; б – врубка «вполдерева»

Теплоизоляция углового соединения брусчатой стены

Рис. 65. Теплоизоляция углового соединения брусчатой стены: 1 – шипы; 2 – пакля; 3 – обшивные доски

Технология возведения брусчатых стен такая же, как и при выполнении рубленых. Конструкция готовой брусчатой стены в разрезе изображена на рис. 66.

Конструкция брусчатой стены

Рис. 66. Конструкция брусчатой стены: 1 – брусья; 2 – оконный блок; 3 – конопатка; 4 – слой штукатурки; 5 – щитовой накат по балкам; 6 – засыпка; 7 – стропило; 8 – слив; 9 – продух; 10 – слой гидроизоляции; 11 – пол

Плоские горизонтальные швы подвержены проникновению во внутреннее помещение влаги, которое уменьшают, сняв у брусьев с наружной стороны фаску шириной до 30 мм. После чего стены (как и рубленые) конопатят, олифят и окрашивают. Иногда их облицовывают кирпичом. Стенку из него толщиной в 1/2 кирпича возводят на некотором расстоянии от деревянной стены (5–7 см), чтобы обеспечить проветривание внутреннего пространства, и на уширенном цоколе. По мере кладки устраивают металлические связи через 3040 см по высоте и 100–150 см по длине.

В настоящее время можно приобрести профилированный брус, в котором выполнены прямоугольный паз и гребень (в окладном венце предусмотрен только гребень), что значительно повышает теплоизолирующие характеристики брусчатой стены (рис. 67).

Особенности сопряжения профилированных брусьев

Рис. 67. Особенности сопряжения профилированных брусьев

Новой технологией является использование клееного бруса. Для его изготовления тангенциально распиливают доски, которые называются ламелями, и склеивают их. При этом совпадение направления волокон древесины исключено. В результате получают монолитный брус, который лишен недостатков обычного (сучков, трещин, сколов и пр.), устойчив к гниению и поражению насекомыми. Кроме того, его текстура очень декоративна. Поскольку материал достаточно легкий, закладку мощного фундамента не выполняют. Однако стоимость клееного бруса довольно высокая.

Весьма экономичными (расход материалов в 2 раза меньше) и вполне доступными по стоимости являются каркасные и панельные стены, которые не дают осадку, а при соответствующей обработке достаточно долговечны (40–50 лет).

Такие стены представляют собой каркас, обшитый с обеих сторон каким-либо материалом (досками, листовым материалом), а промежуток между ними заполнен утеплителем (минеральной или стеклянной ватой, опилками и пр.) (рис. 68).

Конструкция каркасной стены в разрезе

Рис. 68. Конструкция каркасной стены в разрезе: 1 – наружная обшивка; 2 – брусья каркаса; 3 – внутренняя обшивка; 4 – слой пароизоляции; 5 – отлив; 6 – утеплитель

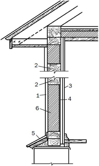
Их особенностью является то, что строительство не требует больших трудозатрат, применения механизмов и вполне доступно человеку без наличия определенного опыта. Под них закладывают столбчатый фундамент. Такие стены не имеют стыковочных швов, при выполнении которых на брусчатых или рубленых стенах без наличия определенных навыков не обойтись. Главное условие – правильно выполнить узлы цоколя и карниза (рис. 69).

Выполнение узлов каркасной стены

Рис. 69. Выполнение узлов каркасной стены: а – цокольного; б – карнизного; 1 – наружная обшивка; 2 – слой пароизоляции; 3 – внутренняя обшивка; 4 – утеплитель; 5 – асбестоцементный лист; 6 – продух; 7 – дощатая обшивка на откосе

Результат зависит и от качества утеплителя. Для элементов каркаса (несущих стоек, обвязок, подкосов жесткости), схема которого представлена на рис. 70, подбирают бруски сечением 50 х 100 и 100 х 100 мм. Вертикальные стойки располагают на расстоянии 0,5–1,5 м, чтобы потом установить между ними оконные и дверные блоки. Если угловые стойки выполняют из брусьев, то для промежуточных подбирают доски сечением 50 х 100 или 60 х 120 мм. Для надежности нижнюю обвязку делают по типу окладного венца из бревен или брусьев. В зависимости от того, как будет устроен пол, балки врубают в нижнюю обвязку (из двух венцов) либо кладут на столбики (из одного венца). Каркас и его детали соединяют гвоздями.

Схема каркаса стены

Рис. 70. Схема каркаса стены: а – общий вид: 1 – подкос; 2 – ригель; 3 – стойка; 4 – нижняя обвязка; 5 – половая балка; 6 – верхняя обвязка; 7 – потолочная балка; б – крепление подкоса: 1 – балка; 2 – обвязка

Особую устойчивость конструкции придают подкосы, которые врезают сковороднем заподлицо с обвязкой. Поверх стоек выполняют верхнюю обвязку, используя соединение «прямой шип». На нее будут опираться потолочные балки, а на них, в свою очередь, – стропильные ноги. За неимением подходящих брусьев балки делают из досок сечением 50 х 200 мм, поставленных на ребро. Дополнительную жесткость каркасу придают укладка цокольного и чердачного перекрытия, внутренние стены и перегородки.

Страницы:


ООО "Гриднев" © 2016-2026

  E-mail: contacts@gridnev.biz