На главную
Отправить письмо
Окна ПВХ
ПВХ Профиль Металлопластик
Gridnev ОКНА - производство, установка,
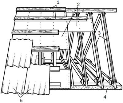
реализация металлопластиковых окон.

От качества выполненного междуэтажного и чердачного перекрытий зависят тепло– и звукоизоляция постройки. Самым простым и надежным вариантом их соединения является такая конструкция, при которой на балки настилают пол мансарды (следующего этажа) или ходовые доски чердака, а снизу прибивают потолок (рис. 74).

Конструкция междуэтажного перекрытия

Рис. 74. Конструкция междуэтажного перекрытия: 1 – гипсокартон; 2 – щит перекрытия; 3 – гидроизоляция; 4 – звукоизоляция; 5 – балка; 6 – лага; 7 – пол; 8 – черепные бруски

Для утепления перекрытий обычно применяют минераловатные плиты, но используют также опилки, керамзит и др. Толщина засыпки зависит от средней зимней температуры (табл. 6).

Таблица 6. Соотношение толщины засыпки чердачного перекрытия и средней зимней температуры

Соотношение толщины засыпки чердачного перекрытия и средней зимней температуры

Крыша

Конструкция крыш садовых домиков и небольших хозяйственных построек на участке обычно не отличается особой сложностью. Различают следующие их разновидности:

  • плоская;
  • односкатная;
  • двухскатная.

Первые два вида подходят для построек типа сарая и гаража. В первом случае скат опускают на наружные стены одинаковой высоты, а во втором – на наружные стены, разные по высоте.

Для садового домика оптимальной является двухскатная крыша. Ее образуют две наклонные плоскости, соединение которых наверху называется коньком, и две треугольной формы стены – фронтоны. Крыши могут иметь и 4 ската. К ним относятся шатровая и вальмовая. Наиболее распространенные варианты представлены на рис. 75.

Разновидности крыш

Рис. 75. Разновидности крыш: а – шатровая; б – двухскатная; в – мансардная; г – многощипцовая; д – односкатная; е – вальмовая

Выбирая тот или иной вариант конструкции, в первую очередь следует принимать во внимание преобладающие погодные условия (при обильных осадках крыши делают крутыми, а в местностях с частыми ветрами – пологими) и возможность создания мансардного помещения. Последнее обычно устраивают в садовом домике.

Желание видеть мансарду как полноценную комнату привело к тому, что многие стали устраивать ломаные крыши. Данный способ позволяет увеличить ее площадь, избежать скошенных углов и отходов производства. Например, стропила можно изготавливать из коротких брусьев. Однако с устройством такой крыши начинающий строитель вряд ли справится самостоятельно, иными словами, ему придется приглашать для этого профессионалов. Следовательно, возникнут дополнительные расходы из-за использования большего количества строительного материала и наемных рабочих.

С древних времен известно правило: чем меньше углов и ребер имеет крыша, тем она будет надежнее. Немаловажно и то, что для соблюдения пропорций потолки в доме придется сделать ниже, что не очень приятно, поскольку летом недостаток пространства и воздуха будет ощущаться довольно сильно. Получается, более предпочтительно сооружение двухскатной крыши с треугольной стропильной конструкцией.

Независимо от количества скатов крыши бывают чердачными и бесчердачными. Первый вариант предпочтительнее в плане пожаробезопасности, а так же для обеспечения свободного передвижения по чердаку (его высота в месте прохода должна составлять не менее 160 см). Кроме того, это предоставляет возможность для надлежащего ухода за кровлей и стропилами.

Конструкцию крыши составляют стропила, обрешетка, гидроизоляционное покрытие и элементы жесткости (стойки, подкосы, ригели) (рис. 76).

Конструкция двухскатной крыши

Рис. 76. Конструкция двухскатной крыши: 1 – обрешетка; 2 – настил; 3 – стропильные ноги; 4 – мауэрлат; 5 – шифер

Основная нагрузка, включающая в себя вес кровли, снега и воздействие ветра, ложится на стропила. В зависимости от ее степени, расстояния между стропильными ногами и их длины используют брусья определенного сечения (табл. 7).

Таблица 7. Соотношение между сечением стропильных ног, их длиной и расстоянием между ними

Соотношение между сечением стропильных ног, их длиной и расстоянием между ними

Стропила делятся на наклонные и висячие (рис. 77, 78).

Устройство наклонных стропил

Рис. 77. Устройство наклонных стропил: 1 – раскос; 2 – мауэрлат; 3 – скрутка; 4 – наружная стена; 5 – внутренняя стена; 6 – врубка; 7 – лежень; 8 – рубероид

Устройство висячих стропил

Рис. 78. Устройство висячих стропил: 1 – раскос; 2 – одинарная затяжка; 3 – доска-накладка; 4 – подкладка; 5 – наружная стена; 6 – накладка

Наклонные устраивают в том случае, если расстояние между опорами составляет не более 6,5 м. При наличии дополнительной опоры с их помощью перекрывают пролет длиной 10–12 м. В зависимости от конструкции стен стропила могут:

  • ложиться на верхнюю обвязку каркасной стены;
  • врубаться в верхний венец рубленых и брусчатых стен (при этом хомуты крепят к предпоследнему венцу);
  • опираться на мауэрлат, уложенный по длине кирпичных стен.

Они представляют собой балки перекрытия, установленные на опоры разной высоты. Монтаж обычно не вызывает затруднений и не требует применения сложной техники. Узлы фиксируют подкосами и стойками – их делают из того же материала. Стропила противоположных скатов образуют конек, который выполняют из бруса сечением 100 х 100 мм.

Висячие стропила, в отличие от наклонных, которые находятся в одной плоскости или укладываются попеременно на конек, всегда располагаются в одной плоскости и образуют жесткую связь. Опорой для фермы служат две крайние точки, а стропила стыкуют друг с другом в коньке на распор. Для устойчивости, чтобы ферма не опрокинулась под действием давления, устраивают ее нижний пояс. Наклонные устанавливают непосредственно на перекрытии, а висячие сначала собирают на земле, после чего монтируют. Чтобы удержать их в заданном положении, сооружают временные крепления. Висячие могут перекрывать пролеты длиной 6–8 м. При этом их собирают с ригелем или без него. Для одинарной затяжки используют материал самих стропил, а для двойной рекомендуется брать брусья потоньше. Накладки и ригели изготавливают из досок толщиной 25–30 мм.

Страницы:


ООО "Гриднев" © 2016-2026

  E-mail: contacts@gridnev.biz