На главную
Отправить письмо
Окна ПВХ
ПВХ Профиль Металлопластик
Gridnev ОКНА - производство, установка,
реализация металлопластиковых окон.

Не менее экологичным материалом по-прежнему остается дерево. Деревянные садовые дома встречаются довольно часто. Но постройка сруба сопряжена со значительными трудностями и трудоемкостью. Кроме того, сложность способов соединения бревен требует наличия определенного опыта.

Обычно используют сосну, ель и осину. Важно, чтобы древесина не имела пороков и дефектов, не была заражена насекомыми, а ее влажность не превышала 23 %. Заготавливают бревна необходимой длины и одинаковой толщины (возможный допуск не должен превышать 30 мм). Со стороны комля их стесывают с внутренней стороны, выравнивая по толщине, которая должна быть равна диаметру вершины, и придавая концам овальную форму. Чтобы высота сруба увеличивалась равномерно, их чередуют, укладывая тонкие концы на толстые. Уложенный ряд называют венцом, а первый венец – окладным. Для последнего подбирают самую качественную древесину, лучше всего дубовую. Уложенные один на другой венцы называют срубом. Для усиления прочности венцов рубленых стен их фиксируют по всей длине шипами (размером 120–150 х 60–70 х 25 мм) с шагом в 1–1,5 м. С учетом осадки (за 1–1,5 года сруб оседает на 5 % от первоначальной высоты) глубина гнезд под шипы должна быть на 20–30 мм больше.

Бревна в срубе укладывают определенным образом (рис. 53). Расположение годичных колец на дереве различно с южной и северной сторон. В первом случае расстояние между ними больше, чем во втором. Это означает, что северная сторона более устойчива к природно-климатическим факторам, поэтому в срубе бревна должны смотреть данной стороной наружу.

Укладка бревен в сруб

Рис. 53. Укладка бревен в сруб: 1 – наружная сторона; 2 – внутренняя сторона

Первый венец кладут по-особому. Сначала его отесывают на 2 канта, один из которых кладут на фундамент (ширина канта должна быть не менее 15 см, что обеспечит устойчивое положение венца), а другой направляют внутрь сруба.

Фундамент гидроизолируют, а окладной венец пропитывают антисептиком, что делает его влагостойким. На окладной венец выкладывают следующий и т. д., причем стены поднимают одновременно по всему периметру. По углам бревна соединяют двумя способами – «в обло» или «в лапу» (рис. 54). В первом случае их концы выступают наружу на величину диаметра бревна. С одной стороны, лес расходуется неэкономно, но с другой – углы стен становятся непродуваемыми. Во втором случае соединение выполняют без остатка. Независимо от выбранного варианта стены теплоизолируют мхом, паклей и пр.

Выполнение углом сруба

Рис. 54. Выполнение углом сруба: а – «в обло»; б – «в лапу»; в – закрепление венцов шипами; 1 – гнездо; 2 – потайной шип; 3 – коренной шип

Рубку «в обло» осуществляют следующим образом (рис. 55). Сначала 2 бревна укладывают на противоположные стороны, а поперек них – 2 других, после чего на верхних делают разметку пазов, которые вырубают топором.

Разметка рубки «в обло»

Рис. 55. Разметка рубки «в обло»

Чтобы определить величину паза («чашки»), используют чертилку. Ее ножки раздвигают на половину диаметра нижнего бревна и отмечают на верхнем. После того как «чашка» выбрана, проверяют ее точность и корректируют, если это потребуется (рис. 56). Оставшиеся бревна размечают и укладывают таким же образом. На каждом венце, кроме окладного, помимо «чашки», делают пазы под шипы.

Форма «чашки»

Рис. 56. Форма «чашки»: а – правильная; б – неправильная

Для срубов «в лапу» подбирают бревна одинакового диаметра (рис. 57). Сначала их концы отесывают на 4 канта, отступив на 1–1,5 диаметра от конца, а потом размечают «лапы» на торцевых сторонах. Торцевую и вертикальные стороны делят на 8 частей, через полученные точки проводят линии строго параллельно сторонам. Для облегчения разметки ребер вводят буквенные обозначения – АБ, ВГ, ДЕ, ЖЗ. На каждом из них откладывают сверху и снизу соответственно:

  • для ребра АБ – 1/8 части;
  • для ребер ВГ и ДЕ – 2/8 части;
  • для ребра ЖЗ – 3/8 части.

Разметка соединения и рубка углов «в лапу»

Рис. 57. Разметка соединения и рубка углов «в лапу»

Найденные точки соединяют и получают ребра «лапы», которые соответственно составляют:

  • АБ – 6/8 части;
  • ВГ и ДЕ – 4/8 части;
  • ЖЗ – 2/8 части.

Для окончательного формирования «лапы» лишнюю древесину выбирают. Затем бревно используют как шаблон. Как и при рубке «в обло», делают пазы и скрепляют венцы потайным или коренным шипами. Каждый из них должен составлять треть ширины и длины «лапы» и устанавливаться вплотную к внутреннему углу (рис. 58). Поскольку соединение «в лапу» менее герметичное, угол снаружи теплоизолируют и забивают доской. В случае необходимости бревна сращивают (рис. 59). После того как сруб установлен, его накрывают рубероидом и оставляют на 1 год для осадки.

Рубка «в лапу» и крепление углов коренным шипом

Рис. 58. Рубка «в лапу» и крепление углов коренным шипом

Способы сращивания бревен

Рис. 59. Способы сращивания бревен: а – прямым шипом по длине; б – соединение бревен шипами

Оконные и дверные блоки не устанавливают вплотную к стенам. Сверху обязательно оставляют зазор высотой 4–5 см, который теплоизолируют, а снаружи прикрывают нащельниками.

Под сруб подготавливают фундамент одним из описанных выше способов и гидроизолируют, после чего на него помещают подкладную доску толщиной 50–60 мм, обмазанную битумом, и слой изолирующего материала. На такое основание укладывают последовательно все венцы, перемежая их паклей. Причем сначала сруб предварительно собирают не на фундаменте. Рубленая стена в разрезе представлена на рис. 60.

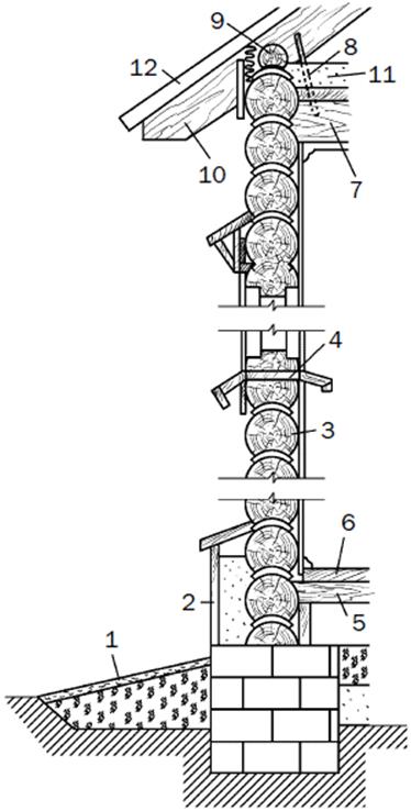
Конструкция рубленой стены

Рис. 60. Конструкция рубленой стены: 1 – отмостка; 2 – цоколь; 3 – сруб; 4 – оконный проем; 5 – черный пол; 6 – чистый пол; 7 – балка перекрытия; 8 – скоба; 9 – мауэрлат; 10 – стропило; 11 – засыпка; 12 – кровля

Длинная стена будет стоять прочно и надежно, если на расстоянии примерно 6,5 м разместить внутренние рубленые стены, причем диаметр бревен должен составлять 22 см. При диаметре 25 см интервал между последними может достигать 8,5 м. Если оно больше, наружные стены укрепляют сжимами – парными брусьями сечением 120 х 140 мм (или 150 х 200 мм), установленными с шагом в 6,5 м (8,5 м), которые стягивают по высоте болтами диаметром 16–20 мм на расстоянии 1 м. От концов их удаляют на 25–40 см.

Страницы:


ООО "Гриднев" © 2016-2026

  E-mail: contacts@gridnev.biz