На главную
Отправить письмо
Окна ПВХ
ПВХ Профиль Металлопластик
Gridnev ОКНА - производство, установка,
реализация металлопластиковых окон.

Швы могут быть горизонтальными или вертикальными – наклонные швы делать не принято. Продолжить бетонирование нужно после приобретения бетоном прочности не менее 1 МПа. На практике признаком этого является разжижение смеси при вибрации. Это значит, что процесс кристаллизации еще только в самом начале. Непосредственно перед бетонированием необходимо обмыть верхнюю плоскость фундамента, стерев цементную пленку щеткой.

По завершении укладки бетона фундамент надо прикрыть достаточно плотной тканью, которую следует время от времени смачивать водой.

Распалубка возможна по истечении не менее 10 дней. Возводить стены можно не раньше чем через 28–30 дней.

Благодаря такой технологии произойдет равномерная осадка, исключающая образование трещин и перекосов.

Помимо перечисленных видов основания, возможно возведение и столбчатого фундамента . Как ясно из названия, это конструкция из отдельно стоящих столбов, на которые уложены железобетонные или железокирпичные перемычки, на которые приходится основной вес стен.

Фундаментные столбы возводятся на расстоянии от 1,5 до 2,5 м:

1) в местах пересечения стен;

2) по углам дома;

3) под стойками каркаса;

4) под прогонами;

5) под тяжелыми простенками.

Сечение столбов фундамента зависит от материала, из которого их сооружают:

1) из бутового камня – 600 х 600 мм;

2) из кирпича – 510 х 510 мм.

При возведении легких каркасных зданий угловые и промежуточные столбы отличаются друг от друга. Если сечение первых должно быть не менее 380 х 380 м, то для последних достаточным является сечение 380 х 250 мм. Железобетонные блоки являются прекрасным материалом для столбчатого фундамента. Их размер зависит от 2 условий – наличия специальных механизмов и их грузоподъемности. При столбчатом фундаменте, заложенном ниже уровня промерзания грунта, фундамент под внутренние стены может закладываться на 50 см ниже уровня спланированной земли.

Подвалу быть

Независимо от типа фундамента (ленточного или столбчатого) возможно сооружение подвального помещения (рис. 17), хотя в каждом конкретном случае он будет иметь свои особенности. Если закладывается ленточный фундамент, вместе с несущими стенами он одновременно станет и стенами подвала.

В том случае, если проектом предусматривается столбчатый фундамент, подвал, как правило, устраивают круглой формы. Он имеет ряд преимуществ:

1) он более экономичен в плане расходования материалов, поскольку стенки его могут быть более тонкими благодаря тому, что давление бокового грунта нейтрализуется круглой формой;

2) подвал может быть более глубоким;

3) круглый подвал предпочтителен при высоком горизонте подпочвенных вод;

4) такой подвал строится, если между боковой поверхностью фундамента и стеной подвала отсутствует достаточное расстояние.

Сооружая подвал круглой формы, нужно учитывать характер грунта. Дело в том, что при пучинистых грунтах вертикальные стенки подвала в случае отсутствия необходимой нагрузки могут быть подвержены сезонному вертикальному перемещению.

Конструктивные элементы подвала

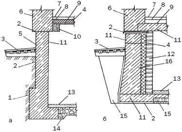
Рис. 17. Конструктивные элементы подвала: а – в сухом грунте: б – в пучинистых перенасыщенных влагой грунтах; 1 – насыпной грунт; 2 – гидроизоляция; 3 – отмостка; 4 – утеплитель; 5 – асбоцементный лист; 6 – наружная стена; 7 – чистый пол; 8 – пароизоляция; 9 – черный пол; 10 – балка цоколя; 11 – железобетон; 12 – кирпичч; 13 – верхнее покрытие пола; 14 – щебень; 15 – слой жирной глины; 16 – бетон

Чтобы не допустить пучения, стены круглого подвала должны быть наклонными. Кроме того, следует учесть некоторые особенности при закладке мелко заглубленного фундамента. В этом случае стена подвала должна находиться на безопасном расстоянии от вертикальной плоскости фундамента, благодаря чему будет исключено влияние грунта, оседающего под тяжестью фундамента, на стенки подвала. Расстояние устанавливают с учетом:

  • величины отметки подвала и подошвы фундамента;
  • среднего давления под подошвой фундамента;
  • особенностей грунта.

Если по каким-либо причинам (например, при отсутствии средств или времени) оборудование подвального помещения откладывается, достаточно заложить ленточный фундамент на глубину промерзания грунта, поскольку достроить подвал можно будет при появлении возможности и позже. Толщина стен подвального помещения определяется: характером используемого строительного материала, глубиной подвала и длиной его стены.

Соотношение ширины фундамента, глубины подвала и длины его стен представлено в табл. 9.

Таблица 9. Ширина фундамента при сооружении подвала

Ширина фундамента при сооружении подвала
Материал для стен подвала

При близких подпочвенных водах не рекомендуется устраивать подвальное помещение, так как потребуется дорогостоящая и достаточно сложная система гидроизоляции. Если дом строится на сухих грунтах, подпольное пространство можно использовать для обустройства подвала. Постройка отдельно стоящего помещения с подвалом обойдется в 3–5 раз дороже.

Обычно высота подвала не превышает 1,9–2,2 м. В нем можно не только разместить кладовые, но и установить котел для обогрева дома, сэкономив пространство самого жилого помещения.

Ленточный фундамент образует стены подвала, а цокольное перекрытие – потолок. Если заглубление стен составляет более 1 м, определяя их толщину, следует учитывать боковое давление грунта. Стены могут быть выложены из бетона, железобетона, кирпича или бетонных блоков. В последнем случае, чтобы увеличить прочность стен, через 40 см по высоте в горизонтальные швы закладывают арматурную сетку, а по верхнему и нижнему периметру стен – железобетонные пояса.

Стены подвала должны быть не только устойчивыми, но и тепло– и гидроизолированными. На глубине примерно 2 м от поверхности земли температура воздуха равна примерно 5–10° C. Надежно теплоизолированные стены подвала позволяют поддерживать ее практические постоянно. Традиционными в плане теплоизоляции материалами являются керамзит и минеральная вата. Из современных материалов можно назвать пенопласт. Существует достаточное количество способов теплоизоляции стен. Но самыми эффективными являются такие, при которых утепляющий материал находится снаружи дома. Благодаря такому его расположению стены подвала не отсыревают и не промерзают. При устройстве наружного утепления следует использовать пенопласт, так как его теплопроводность в 2–3 раза меньше, чем у минеральной ваты, а водопоглощение – в 100 раз. Поскольку он будет располагаться снаружи, то его некоторую токсичность можно не учитывать.

Наружная гидроизоляция стен подвала или подполья – это обязательное мероприятие при постройке дома. Если грунтовые воды залегают ниже уровня пола подвала (то есть при сухих или маловлажных грунтах), осуществляют двойную обмазку стен разогретым битумом. При влажных грунтах в качестве гидроизоляционного материала используют рубероид или полиэтиленовую пленку, предварительно устроив так называемый глиняный замок. Для этого используют жирную глину, которую насыпают слоем до 25 см и уплотняют. Глиняный замок – это своеобразный водонепроницаемый экран из мятой утрамбованной глины, который располагают вокруг стен и фундаментов. Если пол подвала располагается ниже уровня подземных вод, потребуется проведение дополнительной подпольной гидроизоляции. Для этого в котлован укладывают сварные полиэтиленовые полотнища. Подвал обязательно должен вентилироваться. Это необходимо для того, чтобы избежать появления сырости и плесени. Кроме того, находящиеся в подвале овощи лучше сохраняются в сухом воздухе. Устроить вентиляцию можно 2 способами: 1. Еще на стадии возведения цоколя по всему периметру следует оставить вентиляционные отверстия (размером 14 х 14 см), которые при эксплуатации дома нужно систематически открывать, чтобы проветривать подвальное помещение. Их устраивают на высоте примерно 15 см над уровнем земли, причем на каждую сторону дома достаточно 1 отверстия. На зиму их закрывают во избежание попадания снега, проникновения грызунов и т. п.

2. Оптимальным решением является прокладка особых вентиляционных каналов в дымовентиляцион-ных блоках, которые должны быть выведены выше чердачного перекрытия или крыши. Это особенно актуально при строительстве 2–3-этажных домов.

В зависимости от характера грунта пол в подвале и основание под него могут быть устроены различными способами. Если на сухих грунтах в качестве основания могут служить щебень, гравий и кирпичный бой, которые необходимо уложить на грунт, утрамбовывая, то в случае влажного грунта следует предусмотреть гидроизоляцию.

Самыми лучшими материалами для основания являются монолитный бетон или железобетон, которые нужно уложить на гидроизоляционный слой для предотвращения капиллярного поднятия влаги. В качестве него могут служить жирная глина или пропитанный битумом щебень. После того как будет подготовлено основание, укладывают половое покрытие. Для этого подходят любые материалы – керамическая или бетонная плитка, цементно-песчаный раствор, половая доска и т. д. Что касается перекрытия над подвалом, его можно выполнить как из железобетонных плит, так и из дерева. Железобетонные перекрытия следует предпочесть при влажных грунтах и недостаточной вентиляции. Если укладывается деревянное цокольное перекрытие, несущие балки над подвальным помещением должны остаться открытыми, а утеплитель при этом укладывают над ними. Если горизонт подпочвенных вод находится высоко, потребуется проведение сложных и достаточно затратных гидроизоляционных мероприятий. При отсутствии средств и возможностей подпольное помещение можно сделать мелкозаглубленным, обустроив полупроходное подполье высотой от 130 до 150 см. В этом случае пол укладывают на лаги, которые опираются на кирпичные столбики, возведенные на грунте. Затем достаточно изнутри утеплить цоколь, проложив по периметру минеральную вату. Кроме того, в качестве утеплителя можно использовать керамзит.

Страницы:


ООО "Гриднев" © 2016-2026

  E-mail: contacts@gridnev.biz