На главную
Отправить письмо
Окна ПВХ
ПВХ Профиль Металлопластик
Gridnev ОКНА - производство, установка,
реализация металлопластиковых окон.

Кровля из металлочерепицы

Металлочерепица – это профилированный стальной лист, который имитирует фактуру черепицы. Во-первых, такая крыша смотрится очень красиво, во-вторых, использование металлочерепицы позволяет скрыть всевозможные искривления, которые станут заметными на ровной поверхности. От традиционных материалов ее отличают коррозионная устойчивость и легкость монтажа. Металлочерепицу производят из оцинкованной стали с полимерным покрытием. На разрезе она похожа на многослойный пирог (рис. 108).

Структура листа металлочерепицы

Рис. 108. Структура листа металлочерепицы: 1 – полимерное покрытие; 2 – слой грунта; 3 – конверсионный (фосфатный) слой; 4 – цинк; 5 – прокат холоднокатаный; 6 – цинк; 7 – конверсионный слой; 8 – защитный слой

Ассортимент металлочерепицы весьма разнообразен в плане геометрии профиля, типа полимерного покрытия и цвета. Монтаж кровли довольно прост, но имеются некоторые тонкости, которые необходимо обязательно учитывать. Металлочерепица поставляется с учетом необходимого размера. Длиной ее листа считается длина ската плюс длина карниза. Металлочерепица прикрепляется к основанию таким образом, чтобы край был на 40 мм ниже карниза. Это нужно для того, чтобы на коньке образовалась небольшая щель, которая будет служить для вентиляции. Лист металлочерепицы имеет на первой волне канавку, вследствие чего его нельзя переворачивать. Покрытие на выступающих скатах отличается некоторыми особенностями. Поперечный рисунок профиля у карниза всегда начинается одинаково, поэтому длина листов рассчитывается пропорционально шагу профиля, который у разных листов не совпадает.

Обрешетка под металлочерепицу выполняется в виде брусьев, прибитых на расстоянии, соответствующем размеру рисунка на листе. Для обрешетки подойдут как доски сечением 32 х 100 мм, так и металлические профили.

Укладку начинают с установки карнизных планок. Нахлест составляет 100 мм. Планку крепят оцинкованными гвоздями или шурупами с шагом 300 мм. Для резки листов используют ножницы по металлу. Если крыша двускатная, то монтаж кровли начинают с торца, а при шатровой крыше листы крепят с самой высокой точки ската по обе стороны. Каждый лист снабжен капиллярной канавкой, которая во время укладки прикрывается последующим листом. Благодаря наличию такой канавки влага, капиллярно поднимающаяся под край листа, сбрасывается к карнизу. Работу можно начинать как с левого торца, так и с правого. При укладке с левого края очередной лист укладывают под последнюю волну предыдущего ряда.

Край листа устанавливают по карнизу. При этом, как показал опыт, лучше «наживить» 2–3 листа 1 шурупом на коньке, выровнять их и только потом крепить по всей длине. Завершает работу установка желобчатого конька (рис. 109). Ендовы делают из гладкого листа.

Конек

Рис. 109. Конек: 1 – стропила; 2 – кровля; 3 – коньковый брус; 4 – рубероид; 5 – желобчатый конек; 6 – скоба

Выбор кровельного материала зависит от уклона крыши, что наглядно представлено в табл. 26.

Таблица 26. Покрытие кровли в зависимости от уклона

Покрытие кровли в зависимости от уклона
Продолжение таблицы

«+» – кровля может исполняться без подготовительных работ. «0» – кровля требует предварительных подготовительных работ.

Вентиляция крыши

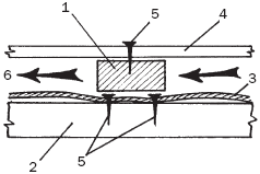
В пространстве между стропилами и обрешеткой воздух должен свободно циркулировать. Благодаря этому на нижней части кровли не будет накапливаться конденсат. При этом перемещение воздухопотока следует обеспечить независимо от того, подвержена ли кровля коррозии или она защищена от перепада температур и климатических воздействий. При отсутствии вентиляции начинают подгнивать стропила и обрешетка. Оптимальное решение проблемы устройства вентиляции крыши представлено на рис. 110.

Обеспечение вентиляционного зазора в крышах повышенной влажности

Рис. 110. Обеспечение вентиляционного зазора в крышах повышенной влажности: 1 – брусок сечением 50 х 50 мм; 2 – стропила; 3 – парогидроизоляция; 4 – обрешетка; 5 – гвозди; 6 – движение воздуха

Между стропилами и обрешеткой должен быть зазор, который создается деревянным бруском сечением 50 х 50 мм. При повышенной влажности оно может быть увеличено. На стропилах должна быть уложена гидроизоляционная пленка, что пресечет поступление влаги со стороны чердака. Она настилается внахлест (150 мм) в направлении от карниза к коньку, поскольку вентиляционный поток вследствие перепада давления всегда будет направлен снизу вверх (рис. 111).

Вентиляционные потоки при различных конструкциях крыш

Рис. 111. Вентиляционные потоки при различных конструкциях крыш: а – при наличии отверстий на карнизных досках; б – при наличии отверстий в прикарнизных рядах кровли; в – при наличии отверстий в прикарнизных рядах кровли в случае мансардной крыши

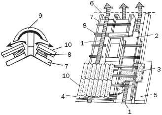
Конструкция крыши, которая обеспечивает нормальную вентиляцию, представлена на рис. 112.

Конструкция крыши с улучшенной вентиляцией

Рис. 112. Конструкция крыши с улучшенной вентиляцией: 1 – потоки воздуха от карниза к коньку; 2 – парогидроизоляция; 3 – ветроизоляция; 4 – вентиляционное отверстие в карнизе; 5 – утеплитель; 6 – уровень установки конька; 7 – стропила; 8 – обрешетка; 9 – геометрия покрытия конька; 10 – кровля

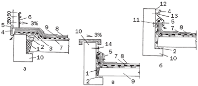
Помимо гидроизоляции предусматривается ветро– и теплоизоляция. Выход воздуха обеспечивается конструктивным решением конька. Его можно выполнить из дерева, придав ему треугольную форму. При устройстве конструкции «дышащей» кровли из мягкого материала имеются некоторые отличия от предыдущего варианта, что показано на рис. 113 (стрелками обозначено направление движения воздуха).

Конструкция «дышащей» кровли

Рис. 113. Конструкция «дышащей» кровли (размеры даны в мм): А – карниз с решетчатым ограждением; б – узел примыкания Кровли к вертикальной поверхности; в – карниз со сплошным Ограждением; 1 – утеплитель; 2 – цементный раствор; 3 – бортовой камень; 4 – полоса из металла; 5 – фартук; 6 – металлическое ограждение; 7 – основная кровля; 8 – дополнительный слой кровли; 9 – панель чердачного Покрытия; 10 – наружная стеновая панель чердака; 11 – деревянная пробка; 12 – герметизирующая мастика; 13 – гвозди; 14 – металлическая шайба

При этом 1-й слой мягкой кровли приклеивается не полностью, а отдельными фрагментами, благодаря чему паровыделение не будет нарушать целостность листа кровли. В качестве первого слоя больше всего подойдет перфорированный рубероид, который укладывается насухо. На него следует нанести слой мастики под обычный рубероид. Благодаря наличию отверстий мастика прикрепит нижний слой к основанию. На рисунке А показано, как полотнище перфорированного рубероида с помощью мастики «прихвачено» к сливу. На других элементах перфорированный рубероид располагают примерно на 50 мм выше отворотов обычного рубероида (фрвгмент В). На рисунке Б видно, как край «дышащего» полотнища прикрепляется к обработанным антисептиками пробкам. Верхний край ковра защищают металлическим фартуком. Благодаря такому устройству водяные пары, собравшиеся в подкровельной прослойке выйдут наружу через слив.

Скатные крыши в условиях российского климата являются обычным явлением. Это можно объяснить сложностями, которые возникают при монтаже крыши. Традиционная плоская крыша состоит из следующих слоев:

1) несущая плита;

2) пароизоляция;

3) теплоизоляция (обычно из минеральной ваты);

4) гидроизоляционный ковер на основе битумосодержащих рулонных материалов.

Но плоская кровля имеет целый неоспоримых преимуществ. Например, она дает возможность увеличить полезную площадь дома, если вместо мансардного построить полноценный этаж. Становится распространенным и такой вариант использования плоской кровли, как обустройство на крыше места отдыха и озеленения (о последнем речь пойдет ниже). Но надо признать, что традиционная плоская кровля не лишена и недостатков, причем существенных. К ним можно отнести:

1) недостаточную герметичность пароизоляционно-го слоя, что ведет к увлажнению утеплителя. При этом влага стекает по стенам, они намокают, и тогда начинается цепочка разрушения со всеми вытекающими последствиями. Кроме того, замерзая, влага отрывает от основания гидроизоляционный слой;

2) разрушения, возникающие под воздействием атмосферных осадков.

Эти проблемы были решены с изобретением инверсионной крыши. Основное отличие данной технологии от традиционной заключается в расположении слоев кровли. Гидроизоляция находится не над слоем теплоизоляции, а под ним. В результате утеплитель защищен и от атмосферных, и от механических воздействий, что многократно увеличивает срок службы плоской кровли. Сравнение обоих способов устройства плоской кровли представлено на рис. 114.

Страницы:


ООО "Гриднев" © 2016-2026

  E-mail: contacts@gridnev.biz