На главную
Отправить письмо
Окна ПВХ
ПВХ Профиль Металлопластик
Gridnev ОКНА - производство, установка,
реализация металлопластиковых окон.

Панели и настилы отмечены специальной маркировкой из цифр и букв, которая указывает наименование изделия («П» – панель, «Н» – настил), на какую нагрузку оно рассчитано («Т» – тяжелая), а также его длину и ширину.

Пустотелая панель перекрытия

Рис. 72. Пустотелая панель перекрытия (размеры в миллиметрах)

Для настилов, предназначенных под тяжелую нагрузку, используют цемент М300, для обычной нагрузки – М200, для панелей – только М200. Настилы и панели армируются сварными сетками.

Панели кладут на несущую стену, при этом длина опорной поверхности равна, как минимум, 10–15 см. Если панель имеет толщину 10 см, то эта поверхность должна быть не меньше. Стены, на которые укладываются панели и настилы, должны быть строго горизонтальными, поскольку нижняя поверхность служит потолком.

Панели имеют специальные плиты, которые облегчают их установку. Монтируя железобетонные настилы, их располагают таким образом, чтобы арматура приходилась на то место, где настил подвергается напряжению при растяжении (в консолях – вверху, в панелях – внизу).

Плюсы пустотных панелей и настилов:

1) повышенная прочность и долговечность (не менее 80 лет);

2) экономичность (расход бетона снижен);

3) относительно малый вес;

4) повышенная звуко– и теплоизоляция.

Минусы железобетонных перекрытий:

1) осуществление монтажа с обязательным применением грузоподъемной техники;

2) повышенная звукопроницаемость.

Железобетонные перекрытия укладываются на кирпичные, бетонные и шлакобетонные стены. Они прочные, но довольно тяжелые. Цокольное перекрытие, выполненное из железобетона, вполне целесообразно. Различают также сборные и монолитные перекрытия.

Монолитные перекрытия (рис. 73) сооружают, предварительно установив опалубку. Поскольку они частично переносят нагрузку с пола на несущие стены, их можно рассматривать в качестве жесткого каркаса дома.

Монолитные перекрытия

Рис. 73. Монолитные перекрытия: а – виды несущих плит; б – конструкции перекрытия; 1 – сплошная плита; 2 – круглопустотелая плита; 3 – ребристая плита; 4 – плита типа ТТ; 5 – изоляция от ударного шума; 6 – пол на стяжке; 7 – гипсобетонные плиты; 8 – пол

Монолитные перекрытия бывают нескольких типов – плитными, балочными и ребристыми, а также есть перекрытия-вкладыши (рис. 74).

Металлическая арматура в плитных перекрытиях размещается по низу плиты, то есть в месте наибольшего растяжения.

Балочное перекрытие используется при ширине пролета более 3 м. Перекрытия по сборным железобетонным балкам используются в одноэтажном индивидуальном строительстве. На стенки укладывают железобетонные балки, соединяя их арматуру с металлическими стержнями плит. Расстояние между балками составляет 130–150 см. При этом пространство между балками перекрывается легкобетонными или пустотными плитами, швы между которыми заливают цементным раствором и тщательно затирают.

Ребристые перекрытия укладывают при необходимости получить ровную поверхность потолка. Расстояние между балками – 50–100 см. Если полет составляет более 6 м, его армируют добавочным поперечным ребром.

Монолитные железобетонные перекрытия

Рис. 74. Монолитные железобетонные перекрытия: а – монолитная плита; б – балочное перекрытие; в – ребристое покрытие; 1 – поперечная арматура балки; 2 – балка; 3 – продольная главная арматура балки

На арматурном каркасе предусматривают закладные детали, к ним будет крепиться подшивной потолок, который можно выполнить до бетонирования. Ребристые потолки отличаются трудоемкостью и тем, что требуется применение древесины. Перекрытия с вкладышами (рис. 75) устраивают таким же образом, как и ребристые, но в местах между ребрами вставляют вкладыши, которые являются одновременно опорой для ребер и нижней поверхностью опалубки плиты.

Перекрытия с вкладышами

Рис. 75. Перекрытия с вкладышами: 1 – штукатурка; 2 – керамический вкладыш; 3 – арматура ребра

Они также будут служить основанием для штукатурки. В качестве вкладышей используют жесткие конструкции из обожженной глины. После размещения арматуры, их устанавливают в горизонтальную опалубку и заливают бетоном.

Монолитные бетонные перекрытия изготавливаются непосредственного на строительной площадке, поэтому не требуют применения грузоподъемных средств. Арматурный каркас для плиты не должен доходить до опалубки (которую монтируют из листа профнастила) примерно на 3–5 см. Это необходимо для того, чтобы бетонная масса полностью залила пространство. Повышенная несущая способность определяется металлической арматурой, диаметр прутков которой должен быть 8–12 мм.

Максимальная длина пролета для монолитной железобетонной плиты составляет не более 3 м. Каждый пролет бетонируется в процессе 1 рабочего цикла.

Перекрытия по деревянным балкам характерны для малоэтажных домов (рис. 76).

Перекрытия по деревянным балкам

Рис. 76. Перекрытия по деревянным балкам: 1 – гипсокартонные листы; 2 – щит перекрытия; 3 – гидроизоляция; 4 – звукоизоляция; 5 – балка; 6 – лага; 7 – доски пола; 8 – черепные бруски балки

Чтобы не допустить провисания перекрытия, ширина пролета не должна быть более 3–4 м. В противном случае сечение балок придется увеличить до нестандартных размеров. Наименьшее сечение балок перекрытия представлено в табл. 16.

Таблица 16. Сечение балок перекрытия в зависимости от соотношения ширины проема и расстоянием между балками

Сечение балок перекрытия в зависимости от соотношения ширины проема и расстоянием между балками
Ширина проема

К качеству деревянных брусьев для перекрытия предъявляются определенные требования. Они должны:

1) не иметь дефектов (трещин, гнили);

2) быть из древесины хвойных пород, очищенными от коры и обработанными антисептиком (поскольку древесина лиственных пород плохо работает на изгиб, ее использование запрещено);

3) иметь длину опорных концов не менее 150 мм.

Укладку начинают с установки крайних балок, а затем распределяют промежуточные. Такой способ называется маячным. Для проверки горизонтальности балок используют измерительные инструменты: установку крайних балок проверяют уровнем, а промежуточных – рейкой и шаблоном. При обнаружении отклонений балки выравнивают. Традиционный способ выравнивания – подкладывание под концы балок обрезков досок, которые должны быть предварительно просмолены. Применять другие способы – подтесывание балок или подкладывание щепок – категорически недопустимо.

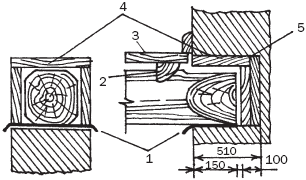
Деревянные балки укладывают по короткой стороне пролета, стараясь выдерживать параллельность и одинаковое расстояние между ними. Заделка балок перекрытия в стены является очень важным моментом, так как надежное и прочное перекрытие – это безопасность жильцов дома. В кирпичной стене балки устанавливают в ниши, глубина которых бывает примерно 20 см. Торцы срезают под углом 60°, покрывают антисептиком, горячим битумом, оборачивают 2 слоями толя (рубероида) и укладывают таким образом, чтобы до задней стенки гнезда оставалось примерно 30–50 мм. При этом торцевые стороны балок оставляют открытыми и непромазанными. Под балку кладут покрытую битумом доску. Если толщина кирпичной стены не превышает 2 кирпичей, зазоры между нею и концами балок заполняют цементным раствором.

Есть и другой способ: заднюю стенку гнезда покрывают 2 слоями промасленного войлока, сбивают деревянный короб, имеющий 3 стенки, промасливают его и вставляют в гнездо, прижав войлок (рис. 77).

Заделка концов балок перекрытия (толщина стены – 2 кирпича)

Рис. 77. Заделка концов балок перекрытия (толщина стены – 2 кирпича): 1 – толь; 2 – лага; 3 – пол; 4 – половая доска; 5 – войлок

При толщине стен от 2,5 кирпича и больше концы балок оставляют открытыми. Так как своим опорным концом балка входит только на 150 мм, то между ним и задней стенкой гнезда, глубина которого равна 250 мм, образуется пространство, которое используется как вентиляционная продушина. Низ его выравнивают бетоном, обмазывают битумом, настилают 2 слоя толя, верхнюю и боковые поверхности также покрывают толем, а заднюю – одинарным промасленным слоем войлока, прижав его обработанной антисептиком доской толщиной 25 мм. Между этой доской и концом балки должно оставаться расстояние примерно в 40 мм (рис. 78).

Заделка концов балок перекрытия (толщина – 2,5 кирпича)

Рис. 78. Заделка концов балок перекрытия (толщина – 2,5 кирпича): 1 – толь; 2 – балка; 3 – пол; 4 – лага; 5 – конец балки; 6 – зазор 4 см; 7 – половая доска; 8 – толь; 9 – войлок

Заделывая концы балок чердачного перекрытия в стенах в 2 кирпича, сбивают трехсторонний ящик, промасливают его стенки и обивают войлоком и вставляют в гнездо (рис. 79).

Заделка концов деревянных балок в стену толщиной в 2 кирпича

Рис. 79. Заделка концов деревянных балок в стену толщиной в 2 кирпича: 1 – толь; 2 – засыпка; 3 – половая доска; 4 – войлок

Отдельно нужно сказать об оформлении прохода коренного дымохода через деревянное покрытие (рис. 80).

Разделка в месте выхода дымохода в междуэтажной деревянном перекрытии

Рис. 80. Разделка в месте выхода дымохода в междуэтажной деревянном перекрытии: 1 – дымовой канал; 2 – балка перекрытия; 3 – разделка в 1,5 кирпича; 4 – 2 слоя асбеста; 5 – разделка в 1 кирпич с дополнительной изоляцией

Страницы:


ООО "Гриднев" © 2016-2026

  E-mail: contacts@gridnev.biz