На главную
Отправить письмо
Окна ПВХ
ПВХ Профиль Металлопластик
Gridnev ОКНА - производство, установка,
реализация металлопластиковых окон.

Консервация локальной системы очистки стоков на зиму

Если в зимний период в коттедже никто не проживает, то локальная установка биологической очистки не эксплуатируется. В этом случае необходимо произвести консервацию системы на зиму, выполнив следующие действия. Прежде всего нужно откачать установленный инструкцией объем воды из аэротенка и стабилизатора, оборудовать крышку установки надежным утеплителем, накрыть все это пленкой для предохранения от попадания атмосферных осадков. На протяжении всего периода зимней консервации в установку не должны поступать бытовые стоки.

В теплый период года перед запуском установки в эксплуатацию надо включить ее в сеть, затем заполнить водой через канализацию до верхнего уровня аэротенка и стабилизатора.

Фильтрующий колодец является конечным звеном в системе автономной канализации – сюда поступают осветленные стоки после отстаивания и обработки гнилостными бактериями в двухкамерном септике. На фильтрующий колодец возлагается завершающая операция: с минимальным загрязнением для грунтовых вод слить техническую воду в землю (рис. 36).

Схема размещения фильтрующего колодца на частном подворье

Рисунок 36. Схема размещения фильтрующего колодца на частном подворье

Обычно фильтрующий колодец представляет собой вертикальный сосуд без дна, к тому же изрешеченный по бокам. Такой колодец доступно сделать из любого подручного материала, вплоть до старой железной бочки, лишенной дна и с многочисленными отверстиями по бокам.

Однако чаще для изготовления фильтрующих колодцев используют железобетонные кольца. Иногда в этих целях выкладывают «дырявые» кирпичные сооружения или приобретают готовые изделия, которые могут быть выполнены из различных материалов, в частности из пластика. Обычно готовые изделия такого характера рассчитаны на определенный объем сточных вод (рис. 37).

Железобетонные кольца для фильтрующего колодца

Рисунок 37. Железобетонные кольца для фильтрующего колодца

Фильтрующие колодцы также могут представлять собой выемки в грунте, разные по форме. Их заполняют фильтрующим гранулированным материалом, для чего можно использовать крупный песок, гравий, обломки кирпичей и другой щебеночный материал. Сверху стоки попадают на этот материал, а очищенная вода собирается в нижней части. Предполагается, что после прохождения через фильтрующий колодец техническая вода из септика становится безопасной для окружающей среды. Если имеется возможность отводить эти воды из колодца в накопительную емкость, то их можно использовать затем для полива огорода, газона, плодовых и декоративных растений.

Археологи установили, что канализация была изобретена в глубокой древности: в Риме и Египте обнаружены следы старой канализационной системы, возраст которой составляет примерно 4,5–5 тыс. лет.

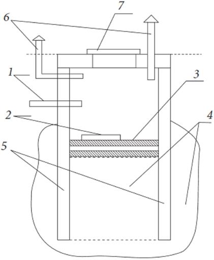
Фильтрующий колодец действует по следующему принципу: сливная вода из септика поступает по трубопроводу и падает на железобетонную плиту, которая препятствует размыванию слоя песка. Толщина песчаного слоя обязана составлять не менее 30 см. Через песчаный слой вода попадает в щебень. Для улучшения фильтрации она выходит также в щебень через отверстия в колодце. Вокруг этих отверстий надо выложить слой крупного щебня. Такой слой из крупного щебня или боя камня, кирпича непременно должен быть в нижней части колодца. Если просто обсыпать его толстым слоем грунта, это приведет к снижению фильтрующей способности колодца. Он обязан быть оборудованным приточно-вытяжной вентиляцией и люком, через который можно производить осмотр фильтрующего колодца (рис. 38).

Конструкция фильтрующего колодца

Рисунок 38. Конструкция фильтрующего колодца: 1) трубопровод; 2) плита; 3) слой песка; 4) слой щебня; 5) отверстия в колодце; 6) приточно-вытяжная вентиляция; 7) люк

Для того чтобы рассчитать необходимую фильтрующую поверхность, следует исходить из примерного допущения, что фильтрующая способность песчаного грунта составляет около 100 л/сутки на 1 м2 поверхности грунта. На глинистом грунте этот же показатель составляет 50 л/сутки на 1 м2 поверхности грунта. Все же точное значение фильтрующей способности определить достаточно сложно, поэтому лучше подстраховаться и построить фильтрующий колодец с запасом.

Его целесообразнее располагать на расстоянии 3–4 м от септика (минимально допустимое расстояние – 2,5 м). Не рекомендуется располагать его вблизи других фильтрующих колодцев или размещать возле границы своего участка, поскольку идея построить свой такой же колодец может прийти в голову и соседям. Грунт будет просто не в состоянии справиться с такой нагрузкой.

Очень удобные для сооружения фильтрующих колодцев сборные железобетонные кольца с отверстиями выпускаются пока небольшим количеством производителей; вероятно, по этой причине они довольно дорого стоят. В этих же целях можно использовать железобетонные кольца диаметром 150 см. Шахту для колодца из бетонных колец требуется выкопать диаметром на 80 см больше, чем диаметр колец, для предстоящей засыпки фильтрующего материала. В нижних кольцах надо сделать перфоратором множество отверстий диаметром по 6 мм. Если будут работать на фильтрацию не только дно, но и стенки колодца, это повысит его пропускную способность.

Некоторые специалисты считают, что целесообразнее построить фильтрующий колодец из полнотелого красного кирпича, что будет проще и дешевле. Для усиления фильтрующей способности кирпичи в нижней части такого фильтрующего колодца нужно укладывать с зазорами и в шахматном порядке (рис. 39).

Строительство фильтрующего колодца из кирпича

Рисунок 39. Строительство фильтрующего колодца из кирпича

Между кирпичами можно оставлять зазор в 3 см, чего вполне достаточно. При кладке стен колодца с большими зазорами прирост фильтрующей способности практически не наблюдался. Со всех сторон колодец необходимо обложить зернистой фильтрующей загрузкой, которая должна быть расположена внутри и вокруг него, а также под ним и играть роль донного фильтра. Кроме того, за внутренним слоем мелкого щебня с фракциями в 1–3 см следует расположить более крупный отвальный шлак с фракциями в 2-10 см или бой кирпича. Другие конструктивные элементы фильтрующего колодца, такие, как перекрытие и вентиляция, устраивают таким же образом, как и у септика. Септик и фильтрующий колодец нужно соединить канализационными трубами с тройниками на концах. В особенности необходим тройник на выходе из септика, который станет препятствовать попаданию в фильтрующий колодец плавающей корки и других легких отходов. Иначе они будут засорять его.

В глубину фильтрующий колодец может достигать 6–7 м, желательно, чтобы он доходил до песчаного слоя, так как глина почти не поглощает воду. Однако, обустраивая фильтрующий колодец, следует учитывать, что его нижняя часть по санитарным нормам не должна приближаться к верхнему уровню залегания грунтовых вод более чем на 1 м. Такая мера предосторожности позволит предотвратить их возможное загрязнение.

Маскировка объектов инженерной инфраструктуры

Во время благоустройства участка следует позаботиться о внешнем виде септика и замаскировать наружные части канализационных сооружений. Для этих целей вполне подойдут малые архитектурные формы, которые часто используют в общей концепции дизайна не только ради красоты, но и по необходимости. Применение таких дизайнерских приемов дает интересные результаты на участках большой площади, имеющих хорошие системы водоснабжения и канализации. Здесь разветвленная инженерная система обязательно предусматривает наличие некоторого количества канализационных люков, которые невозможно прикрыть газонной травой. Однако вид канализационного люка вряд ли украсит газон. Поэтому дизайнеры предлагают использовать для маскировки объектов инженерной инфраструктуры различные формы малой архитектуры. В частности, можно выполнить имитацию колодца. Для чего смастерить небольшой колодезный сруб с крышей, дополнить его цепью с ведром. Так невзрачный, но необходимый канализационный люк превратится в элемент деревенской экзотики.

Однако на участке может оказаться не один люк, в таком случае следует применять другие подходы – ведь поставленные в ряд несколько колодцев способны вызвать смех и непонимание. Можно «затерять» канализационный люк на высокой цветочной клумбе или спрятать его в небольшом каменистом цветнике – рокарии из 2-3-х камней. Ландшафт несложно оформить в античном стиле, скрыв непрезентабельные люки под «греческими руинами» в виде обломков колонн, арок и потрескавшихся амфор. «Следы древней цивилизации» в виде «руин», изготовленных из гипса, можно разместить по всему участку, предпочитая те места, где необходимо скрыть люки. Допустимо выбрать для маскировки столь необходимых инженерных объектов любое другое радующее глаз сооружение – тут уже все определяет фантазия владельца участка. Для данной цели вполне подойдут и садовые скульптуры, соответствующие стилю дома. Их чаще отливают из бетона специального состава с добавленным в раствор гипсом. Поэтому скульптуры получаются светлыми, почти «мраморными». Кроме того, легкие садовые украшения изготавливают из искусственного камня. Такое решение маскировочной проблемы весьма логично, так как, по мнению экспертов, в российском климате мраморным скульптурам противопоказано пребывание на открытом воздухе. Дорогой мрамор – это украшение для дома. Не случайно даже в парках, окружающих императорские дворцы в Петергофе или Царском Селе, многие парковые скульптуры изготовлены из гипса (рис. 40).

Декоративное оформление наружной части фильтрующего колодца

Рисунок 40. Декоративное оформление наружной части фильтрующего колодца

Канализация по схеме с «разделением стоков»

Схематично такая канализация должна состоять из двух колодцев-септиков, один из которых принимает в себя канализационные стоки, во второй поступают «серые» воды – стоки из ванной и кухни. Она дополнена системой подземной фильтрации, которая следует за септиком. В таком случае эти стоки должны быть конструктивно разделены, они не должны смешиваться до попадания в септики. Такое разделение предпочтительнее, когда очистка стоков осуществляется в септиках-отстойниках без использования электроэнергии. Дело в том, что процесс разложения канализационных стоков в таком септике происходит без кислорода, он представляет собой т. н. анаэробное брожение (без кислорода). Сточные воды из туалета попадают в септик, где совершается процесс их отстаивания и частичное сбраживание в анаэробных условиях. В такой системе «черные» канализационные стоки по мере разложения медленно перетекают в септик окисления «серых» вод. Там происходит их дополнительное совместное окисление, после чего они уходят на поле фильтрации. Для лучшего окисления канализационных стоков можно добавлять специальный биопрепарат с бактериями. В подобной конструкции степень очистки стоков составляет порядка 70–80 %.

Древние римляне также использовали при изготовлении труб паяные соединения встык или внахлестку. Некоторые трубы имели желобчатый изгиб кромок, уплотненный замазкой. Затем такие трубы замуровывали в каменную кладку для сохранения их герметичности.

Далее осветленные воды из второй камеры попадают в фильтрационный колодец, на поле фильтрации или в фильтрующую траншею. Конструкция и выбор этого дополнительного сооружения для очистки стоков обычно зависит от нескольких факторов: состава грунта, объема стока и уровня грунтовых вод. В сооружениях подземной фильтрации, фильтрующей траншее или песчаногравийном фильтре вода, осветленная в септике, проходит дополнительное очищение естественным методом. Несмотря на кажущуюся простоту, это довольно эффективное и дешевое решение проблемы очистки сточных вод, которое действует при наличии фильтрующих (пески, супеси) грунтов и низком уровне грунтовых вод.

Страницы:


ООО "Гриднев" © 2016-2026

  E-mail: contacts@gridnev.biz