На главную
Отправить письмо
Окна ПВХ
ПВХ Профиль Металлопластик
Gridnev ОКНА - производство, установка,
реализация металлопластиковых окон.

Перед тем как монтировать оконную коробку, под каждое окно необходимо подготовить проем. На стройке нередко случается так, что коробку замуровывают в проем в процессе его устройства. Это недопустимо, поскольку окно будет плотно зажато без зазоров и изоляции. Однако самое печальное то, что в этом случае все нагрузки от стены переходят непосредственно на окно, из-за чего оно не может нормально функционировать. В соответствии с правилами основания для окон следует изготовить так, чтобы в обязательном порядке оставались проемы, по своим размерам несколько больше габаритов оконной коробки. Ширина оконного проема должна быть больше ширины коробки на 10—20 мм с каждой стороны, а высота – на 10—20 мм сверху и 50—60 мм снизу. Следует уделять особое внимание тому, чтобы углы проема равнялись 90°, а диагонали не разнились более чем на 10 мм. Проверяется это посредством ленты или веревки.

При наличии слишком большого проема, придется потратить много изоляционного материала, а если проем не будет прямоугольным, то оконная коробка может перекоситься. Нужно, чтобы внутренние поверхности оконного проема были достаточно гладкими, без выемок, а нижняя поверхность из плотного слоя материала – ровной, строго горизонтальной. Слой внутренней гидроизоляции шире толщины оконной коробки.

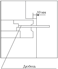
Правильная глубина посадки окна в оконном проеме имеет большое значение. При этом изотерма точки росы (10°С) должна проходить внутри окна. Лишь в этом случае конденсат не будет образовываться на внутренней стороне окна. Надо сказать, что в ситуации со слоем минеральной ваты или пенопласта для теплоизоляции изотерма точки росы формируется на уровне слоя теплоизоляционного материала, в связи с чем окно следует устанавливать именно на этом уровне (рис. 42).

Установка окна на монтажной колодке

Рис. 42. Установка окна на монтажной колодке: 1, 2, 6 – монтажная колодка; 3 – оконный проем без четверти; 4, 8 – гидроизоляция; 5 – крепление колодки; 7 – дюбель

Удобнее всего устанавливать окна с применением монтажной колодки. Предварительно ее горизонтально крепят в проеме заподлицо с внешним краем стены и поверх гидроизоляции, заранее обработав антисептиком. Как правило, высота монтажной колодки составляет 40—50 мм.

Для того чтобы упростить установку окна, следует снять с него створки и разместить в проеме пустую оконную коробку.

Затем на монтажной колодке по уровню выставляют вертикальное и горизонтальное положение боковых сторон коробки и клиньями фиксируют ее в нужном положении. Коробка от правого и левого края проема должна находиться на одинаковом расстоянии (рис. 43).

Места крепления деревянных коробок разных размеров в оконном проеме

Рис. 43. Места крепления деревянных коробок разных размеров в оконном проеме

Крепят окна с использованием монтажных пластин, идущих в комплекте с окнами или изготовленных самостоятельно. Их прикручивают к боковым сторонам оконной коробки до ее монтажа в оконном проеме, для чего отмеряют расстояние до середины стороны и от углов по 300 мм. На больших окнах со сторонами более 1,6 м лучше устанавливать дополнительную пару монтажных пластин посередине вертикальных сторон. Их следует закреплять на коробке с помощью оцинкованных шурупов для дерева длиной 40 мм и диаметром 4 мм (рис. 44).

Установка деревянного окна с использованием монтажной пластины

Рис. 44. Установка деревянного окна с использованием монтажной пластины: 1 – шуруп для дерева; 2 – монтажная пластина; 3 – дюбель

Дюбели в этом случае можно заменить деревянными заглушками, которые заранее вколачивают в стену на высоте последующего размещения монтажных пластин. Креплением здесь будут шурупы для дерева. Иногда окно фиксируют напрямую через коробку шурупами, вкручиваемыми в дюбели (рис. 45).

Закрепление деревянного окна шурупами с дюбелями

Рис. 45. Закрепление деревянного окна шурупами с дюбелями

Когда коробка будет заклинена в проеме, монтажные пластины прикрепляют к стене посредством дюбелей.

Затем клинья убирают, удостоверившись в том, что стороны пластины перпендикулярны плоскостям стены. Далее проверяют диагонали коробки.

У современных деревянных окон довольно низкая теплопотеря, высокие звуконепроницаемость и непродуваемость. Однако эти показатели зависят в основном от качественного проведения изоляционных работ. Щели между коробкой и стеной нужно заделать так, чтобы влага и воздух не проходили, для чего обычно применяют монтажную пену, которая после нанесения расширяется и заполняет щель.

Изоляционный слой следует делать как можно более однородным, сплошным, равномерной толщины. С внешней стороны вдоль щели также укладывают слой гидроизоляции. Наиболее пристальное внимание уделяют изоляции по нижней раме, углам и местах стыка с металлом.

Когда пена затвердеет и оконные створки будут возвращены на свое место в оконной коробке, следует удостовериться в том, что окно работает правильно, после чего можно окончательно его отрегулировать и смазать подвижные детали в соответствии с инструкцией. Необходимо, чтобы створки окна легко открывались и наклонялись, не создавая трения и не требуя приложения усилий. При этом они должны плотно прилегать к коробке.

Фурнитура современных деревянных окон напоминает фурнитуру пластиковых окон. С ее помощью можно без труда регулировать положение оконной створки и одной ручкой определять режим открывания, когда оно или полностью открыто, наклонено или осуществляется микропроветривание. К окну прилагается инструкция по установке фурнитуры, поэтому разобраться с этим сможет каждый.

Пластиковые окна

О том, чтобы установить в квартире или доме пластиковые окна, задумываются обычно тогда, когда зимой в помещении становится слишком холодно, на улице шумно, нет желания заклеивать и обдирать окна 2 раза в год, хочется сделать жилище более удобным и уютным.

У пластиковых окон масса преимуществ: они герметичны и препятствуют проникновению холодного воздуха в несколько десятков раз эффективнее, чем традиционные, к тому же у них хорошая теплоизоляция, благодаря многокамерному профилю и двух– или трехслойному стеклопакету, пространство между которыми часто заполняют газом. Помимо этого, у окон великолепная звукоизоляция. Например, уровень шума в промышленной зоне или рядом с оживленной трассой колеблется в пределах 85 дБ, а по санитарно-гигиеническим нормам в жилом помещении он должен быть меньше или на уроне 45 дБ. Обычные окна снизить шум до такого уровня неспособны, а вот пластиковые уменьшают его до 30 дБ.

Кроме того, пластиковые окна удобны в эксплуатации. Благодаря фурнитуре их можно открывать в двух плоскостях и устанавливать в режим зимнего микропроветривания. По своему внешнему виду они во многом привлекательнее своих деревянных аналогов. Впрочем, это дело вкуса. Существует огромное количество форм, вариантов окраски профиля и фурнитуры, благодаря чему окна впишутся в любой интерьер.

У пластиковых окон большой срок службы – 40 лет, а на фурнитуру изготовители дают гарантию в 5—10 лет. В странах Европы и Северной Америки подавляющее большинство зданий оснащено пластиковыми окнами.

Рассмотрим конструктивные элементы пластикового окна (рис. 46).

Рама представляет собой статичную часть окна, размещаемую в оконном проеме. Производят ее из ПВХ-профиля, укрепленного металлическим каркасом. Стеклопакетом называют светопрозрачный элемент окна, который состоит из двух или трех стекол, герметично скрепленных по периметру. Благодаря этому свойству стеклопакета достигается максимальная тепло– и звукоизоляция.

Элементы пластикового окна

Рис. 46. Элементы пластикового окна: 1 – стеклопакет; 2 – рама; 3 – импост; 4 – створка; 5 – фурнитура; 6 – откос; 7 – подоконник

Створка – открывающийся элемент окна, состоящий из профиля, стеклопакета и фурнитуры, обеспечивающий открывание окна в разных плоскостях. Импост – статичная часть окна, которая разделяет раму на определенное количество частей.

В фурнитуру входят ручки, планки и прочие элементы, которых осуществляют открывание створок и выбор режима проветривания.

В ситуации с пластиковыми окнами подоконник также изготавливают из ПВХ-панелей. Откос представляет собой плоскую ПВХ-панель, с помощью которой делают аккуратную отделку боковых поверхностей оконного проема.

Отлив размещают с наружной стороны окна для отвода дождевой воды. Чаще всего применяют оцинкованные, стальные или алюминиевые отливы.

Страницы:


ООО "Гриднев" © 2016-2026

  E-mail: contacts@gridnev.biz